科室动态

您现在的位置: 首页 - 科室导航 - 内科部 - 神经内科 - 科室动态

帕金森患者新福音:我科一项便于穿戴的辅助翻身装置获得国家专利授权!

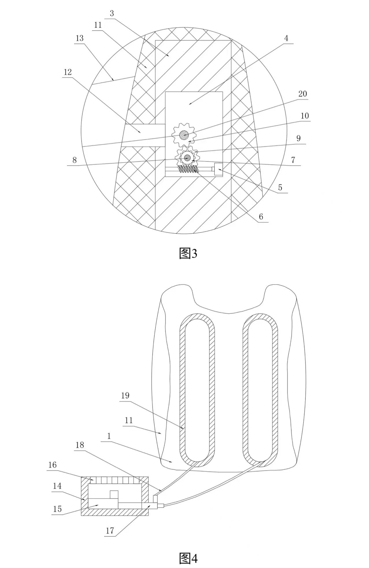
北京清华长庚医院1月17日电(神经内科 李珺近日,清华长庚神经内科一项实用新型专利——一种可辅助帕金森病患者翻身的可穿戴马甲荣获国家知识产权局授权,这是我科帕金森及运动障碍性疾病诊疗团队的又一重大突破!

帕金森病是一种神经系统退行性疾病,其主要临床特点是静止性震颤、肌强直、运动迟缓和姿势平衡障碍。许多帕金森患者存在夜间翻身困难的问题,夜间保持一个姿势可能导致全身肌肉酸痛,对患者来说非常痛苦,使患者感到沮丧、无助和孤独,同时也容易造成压疮等皮肤问题的发生。因此,研发适用于帕金森患者的可穿戴的辅助翻身装置可以帮助他们解决夜间翻身困难的问题。过去传统的辅助翻身装置存在有一定的局限性,例如穿戴时不方便,翻身时容易出现装置松动,从而降低了这些装置的使用效果,导致这些装置无法在实际生活中被帕金森患者接纳和广泛应用。

为了解决上述问题,我科武剑主任带领帕金森及运动障碍亚专科李珺医生团队设计了一种新型的可辅助帕金森病患者翻身的可穿戴马甲。该马甲内部采用主动蜗杆与动力腔内壁的转动连接,利用连接绳与穿戴马甲的连接关系,可以根据帕金森患者的体形调整合适的松紧程度,保证帕金森患者的舒适性,避免传统辅助翻身装置的穿戴不便和易松动问题。同时在马甲内应用气泵将气体传输至充气袋内,起到协助帕金森患者翻身、支撑帕金森患者和维持侧身姿势的作用。

此项实用新型专利的授权,不仅是对该团队科研能力和辛勤付出的高度认可,也为广大帕金森病患者的生活质量改善提供了新的思路和方法。我科帕金森及运动障碍专业团队将再接再厉,投身于医疗质量改进和科研创新工作,为帕金森及运动障碍患者提供更加优质、高效的医疗服务。